Apple patenta la pantalla holográfica 3D
Lo que hoy conocemos como "mercado de las pantallas planas" se encuentra en un impresionante estado de aceleración. Desde la aparición del "fenómeno Avatar", la gran mayoría de las compañías lanzó o está a punto de lanzar pantallas con capacidades 3D, mientras que la cercanía ... de la Copa del Mundo de Fútbol ha puesto las ventas en alza y los precios en baja. Algunas compañías son ya clásicas dentro del mercado, pero en esta ocasión hablaremos de una patente presentada por nada menos que el gigante de Cupertino, Apple. ¿De qué se trata? De un sistema de pantalla que ofrece imágenes en tres dimensiones y una interfaz interactiva que puede ser controlada por el usuario sin la necesidad de guantes especiales, anteojos, o equipo adicional. ¿Alguien dijo "Minority Report" por ahí...?
Noticias relacionadas
Las pantallas planas, con paso lento pero preciso, se están convirtiendo en un personaje cada vez más común en los hogares. De momento son toda una novedad, pero llegará una época en que debamos llamarlas "pantallas planas convencionales", siempre y cuando nos guiemos por algunos de los conceptos que se estarían desarrollando para las pantallas del futuro. Conocemos a Apple por una enorme cantidad de razones, pero si hay algo que no imaginamos de la gente de Cupertino es que pueda comenzar a hacer televisores o pantallas planas mañana, más allá de que sus monitores externos sean de excelente calidad. Sin embargo, la presentación de una nueva patente abre una pequeña posibilidad para el ingreso de Apple al mercado de la "experiencia 3D".
Interfaz para tocar
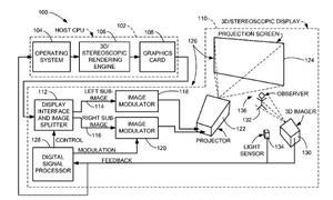
La patente ha sido registrada simplemente como "Sistema de Pantalla Tridimensional", en la que se puede apreciar una pantalla de proyección junto con algo llamado "Superficie Reflectiva de Respuesta Angular". No es la primera vez que Apple hace una presentación sobre tecnología estereoscópica, pero en esta ocasión la patente menciona una especie de interfaz multi-touch, gracias al contacto del usuario con hologramas tridimensionales . La patente también habla de los métodos actuales para presentar imágenes en tres dimensiones, y aunque dichos métodos funcionan, un detalle importante que no puede ser ignorado es el rechazo de los usuarios a la idea de utilizar equipo adicional, como es el caso de los clásicos anteojos 3D. Aquí se menciona la idea de "proyectar" imágenes tridimensionales a un usuario específico, un grupo de trabajo, o a una audiencia en una escala similar a una sala de cine.
La patente explica varios detalles más, como la forma en la que cada usuario puede ser "detectado" para registrar sus movimientos, y cómo las imágenes tridimensionales deben variar según la posición de cada usuario para entregar una "experiencia holográfica real", pero incluso aquí es posible comprender que algo como esto todavía se encuentra un poco lejos en el tiempo, al menos en el aspecto comercial. Sin embargo, el concepto ya ha sido presentado, y la patente pertenece a Apple. Esto es una prueba más de que el gigante de Cupertino no se limita simplemente a hacer ordenadores y gadgets móviles, sino que también es capaz de desarrollar (o al menos idear) tecnología muy interesante. Los rumores que ubican a Apple en un acuerdo inminente con AMD también hablan de un teórico "hardware especializado" que AMD haría de forma exclusiva para Apple y sus sistemas. Esto todavía debe confirmarse, pero que en Cupertino saben una cosa o dos sobre hardware y tecnología, de eso no hay dudas.
Esta funcionalidad es sólo para suscriptores
Suscribete
Esta funcionalidad es sólo para registrados
Iniciar sesiónEsta funcionalidad es sólo para suscriptores
Suscribete